板式催化反应精馏塔一般有以下几种形式:第一种是将催化剂用多孔的,能包裹住催化剂颗粒的材料将催化剂包成包,再将一个或多个这样的包置于一个多孔盒内,此多孔盒规则排列于塔板的进口堰、出口堰附近,利用塔板上液体的自然流动,在催化剂表面进行反应,再利用塔板进行分离;第二种是将催化剂置于塔板的降液管底部,利用塔板的自然降液,在催化剂表面进行反应,再利用塔板进行分离。这两种结构的催化反应精馏塔都是在普通塔板上的局部放置催化剂,利用塔板的自然降液完成催化反应,因此催化剂表面更新缓慢,而且气液相与催化剂接触时间较短,只进行一次接触,就进入下一层塔板,使反应速率较慢、转化率较低,很难发挥催化反应精馏的优点;第三种是采用活性材料载体制成塔板,催化剂与塔板一体化,这种塔板的造价较高,塔板强度较差,较难大规模应用。

    我公司经长期研究,开发出一系列催化反应精馏塔构件,新型催化反应精馏塔是我公司特色产品之一。它主要由降液管、塔板、受液盘构成塔板主体部分,以及由提液管、填料及填料筐、催化剂及催化剂筐、集液板等组成塔板上的催化反应传质单元,可用于化工过程中的催化反应精馏设备,该塔从根本上解决了目前催化反应精馏塔催化剂的包装和装填问题,由于催化剂的装入造成的压力降问题、催化反应和精馏操作不平衡问题,强化了催化剂表面更新,延长了液相在催化剂表面的停留时间,使分离效率和反应速率大为提高。

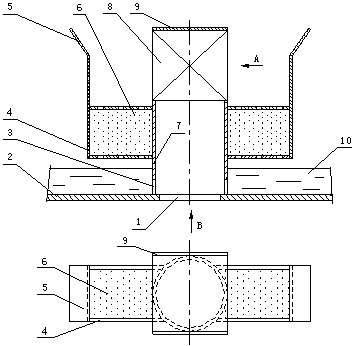
    这种新型催化反应精馏塔,如图1所示,塔板上均匀分布一定数量的催化反应精馏传质单元,催化剂置于与提液管相连的催化剂筐内。由下一层塔板上升的气体,经塔板升气孔上升,将塔板上液体吸入提液管,气液并流在提液管内高速湍动传质,由顶部填料强化传质后,气液分离,气体上升到上一层塔板,液体下降进入催化剂筐,进行催化反应。反应后的液体落回塔板,沿塔板流动进入下一个催化反应精馏传质单元,继续进行反应和分离。 这种催化反应精馏塔将催化反应与精馏有机地结合在一起,它与以前的催化精馏塔相比,改变了塔板上液体的自然流动,使催化剂表面始终保持不断更新;每一层塔板上液体都经过若干个催化反应精馏传质单元的反应和分离,增加了液体和催化剂的接触时间,从而不但加速了催化反应,而且增加了转化率。

    

cat-tb.gif (5117 bytes)

1-升气孔,2-塔板,3-底隙,4-催化剂筐,5-集液板,6-催化剂,7-提液管,8-填料,9-填料筐,10-塔板液层

图1 新型催化反应精馏塔单元示意图

    

典型应用:

(1)醋酸甲酯反应蒸馏塔(台湾)

(2)催化干气制乙苯(北京)

    

    

 

电话:(+86) 22-2741 0889, 传真:(+86) 22-8789 1666

地址:天津市南开区清新大厦A座12层(长江道与南丰路交口处东南侧) 查看百度地图

网站:http://www.chemseparation.comhttp://www.xtj.com.cn ,E-mail:xtj@xtj.com.cn

 

版权所有(C) 2010 天津市新天进科技开发有限公司  津ICP备14002429号-1  津公网安备 12010402000901号  法律声明/保密原则